Рисунок 4 – Вихревой пылеуловитель
Вихревой пылеуловитель работает следующим образом. Пылегазовый поток входит через ввод 7 под углом к оси корпуса 1 и, закручиваясь под действием тангенциально направленных центробежных сил, двигается вниз в корпусе 1. Навстречу ему снизу через осевой ввод 5 подается первичный запыленный газ, который закручивается также под действием тангенциально направленных центробежных сил в ту же сторону, что и нисходящий вторичный поток. Частицы пыли при этом под действием центробежных сил отбрасываются к стенкам корпуса 1. Закрученный вторичный поток: наталкиваясь на отбойную шайбу 6, частично разворачивается, взаимодействуя с первичным потоком, исходящим из осевого ввода 5. Частицы пыли, обладающие большей инерцией, отделяются от потока при его повороте у отбойной шайбы 6 и через зазор между ней и стенками корпуса 1 на линии разграничения цилиндрических частей 1 и 2 вылетают в бункер 8. Это способствует оптимальному взаимодействию закрученной струи первичного потока с нисходящим потоком закрученного вторичного потока и повышению эффективности пылеулавливания за счет возврата в бункер частиц пыли с малым удельным весом. Выполнение корпуса аппарата обработанным вибродемпфирующим материалом с соотношением толщины обрабатываемых деталей к толщине слоя вибродемпфирующего материала, находящимся в соотношении 1: (2,5…4), о позволяет снизить виброакустическую обстановку при пылеулавливании.
Предлагаемое устройство надежно в работе и эксплуатации за счет упрощения конструкции, а также малошумно. Преимущества: содержащит корпус, выполненный из двух цилиндрических частей разного диаметра и конической части, осевой ввод запыленного газа с завихрителем и отбойной шайбой, а также размещенные в верхней части корпуса осевой патрубок для вывода очищенного газа и периферийный ввод вторичного потока с завихрителем, отличающийся тем, что осевой ввод запыленного газа выполнен с периферийным завихрителем с углом наклона подводящего патрубка, равным углу наклона периферийного ввода вторичного потока, а профиль сечения отбойной шайбы выполнен таким образом, что максимальный диаметр ее лежит в плоскости соединения цилиндрических частей корпуса.
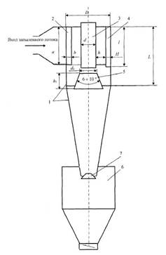
Устройство работает следующим образом. Запыленный газовый поток вводят тангенциально в верхнюю цилиндрическую часть корпуса 1 пылеуловителя мелкодисперсной пыли через плоский канал тангенциального входа 2. Сформировавшийся здесь вращающийся поток опускается по кольцевому пространству, образуемому внутренней поверхностью цилиндрической части корпуса 1 пылеуловителя мелкодисперсной пыли с выполненными уступами 4 и выходным патрубком 3, в конусную часть корпуса 1, а затем, продолжая вращаться, выходит из пылеуловителя мелкодисперсной пыли через выходной патрубок 3. Аэродинамические силы искривляют траектории частиц. Те из частиц, масса которых достаточно велика, успевают достигнуть стенок пылеуловителя, т.е. отделяются от потока.

Рисунок 5 – Пылеуловитель для мелкодисперсной пыли
Под влиянием силы тяжести (касается крупных частиц) и увлекающего действия осевого течения, отделившиеся частицы через тарелку 7 опускаются в бункер пыли 6, где оседают. Для мелкодисперсной фракции пыли, которая находится в потоке газа, по пути движения потока выполнены уступы 4. Из-за действия центробежных сил струя газодисперсного потока искривляется и присоединяется к стенке. Как следствие, происходит разделение частиц пыли и газа. Мелкодисперсная пыль сепарируется в зону пониженного давления, где образуется вихрь. Пыль, сконцентрированная в зоне разрежения, движется по направлению к бункеру 6 под действием перепада давления, которое создается усеченным конусом 5. установленным в области соединения цилиндрической и конусной части корпуса 1.
Технология сварки полиэтиленовых труб
Полиэтилен относится к группе хорошо свариваемых материалов. Целью сварки является получение неразъемных соединений равнопрочных основному материалу.
К процессу сварки предъявляют следующие требования:
- процесс сварки должен быть технически не сложным и экономически целесообразным
- технология сварки до ...
Определение водопотребителей и расчет потребного
расхода воды на хозяйственно - питьевые, производственные и пожарные нужды
поселка и предприятия. Определение водопотребителей
Объединенный хозяйственно-питьевой, производственный и противопожарный водопровод должен обеспечить расход воды на хозяйственно-питьевые нужды поселка, хозяйственно-питьевые нужды предприятия, хозяйственно-бытовые нужды общественного здания, производственные нужды предприятия, тушение возможных пожаров в по ...
Расчёт пропарочных камер
При тепловой обработке применяют, в основном, ямные пропарочные камеры периодического действия. Габаритные размеры камер устанавливаются таким образом, чтобы загрузка изделиями была максимальной.
Габаритные размеры секции камеры рассчитываются по формулам:
где lф, bф, hф – соответственно, длина, ширина ...